
在技术不断发展的时代,我们每年都会见证新一波即将到来的智能手机创新和进步。
2023 年,一切都与可折叠智能手机有关。三星,一加,谷歌,摩托,华为,荣耀,OPPO……都为我们带来了可折叠手机技术,但每个人心中都有一个问题:苹果是否会追随同样的趋势?
好吧,这很难确定,但有传言称苹果正在尝试可折叠和翻盖设计,我们可能会在不久的将来看到“iPhone Flip”或“iPhone Fold”。
To flip or not to flip, that is the question.

可折叠显示器只是一个可以弯曲或折叠而不会造成任何损坏的屏幕。这意味着您可以享受大屏幕的优势,而无需随身携带笨重的平板电脑大小的设备。通常,柔性OLED技术创造了这些可折叠显示器。OLED 由有机材料制成,当施加电流时就会发光。通过利用薄而柔性的 OLED 层,制造商可以设计出可弯曲或折叠的屏幕。
从好的方面来说,可折叠 iPhone 可以让你在需要时提供更大的显示屏幕。您可以在看电影、玩游戏或执行多任务时将其展开,然后在外出时将其折叠起来。这就像将平板电脑和手机合二为一。
但从缺点来看,我们必须问一个问题:可折叠 iPhone 的耐用性如何?它必须能够承受大量的重复弯曲,因此苹果必须确保它经久耐用。然后就是成本。制造可折叠显示屏仍然是一项相当新且昂贵的技术,这意味着可折叠 iPhone 可能比现有型号的价格更高。

近年来,苹果并未对其 iPhone 的设计做出重大改变。iPhone 15看起来与 iPhone 12 非常相似。iPhone 15 Pro Max尽管由钛制成,但与不锈钢 iPhone 12 Pro Max 几乎相同。
这种创新的缺乏让许多人想知道苹果的下一步设计举措是什么。多年来一直有传言称苹果可能会加入可折叠智能手机的潮流,有些人猜测苹果已经在开发原型机。不过,苹果尚未证实任何事情,我们掌握的唯一信息就是近年来泄露的少数传闻。
我们还可以看到苹果不断增加的 iPhone Flip 和 iPhone Fold 设计专利列表。


近年来,苹果公司已获得多项与 iPhone Fold 和 iPhone Flip 设计概念相关的专利。虽然苹果拥有专利这一事实并不能保证我们很快就会在市场上看到可折叠 iPhone,但这确实表明该公司正在考虑这种可能性。
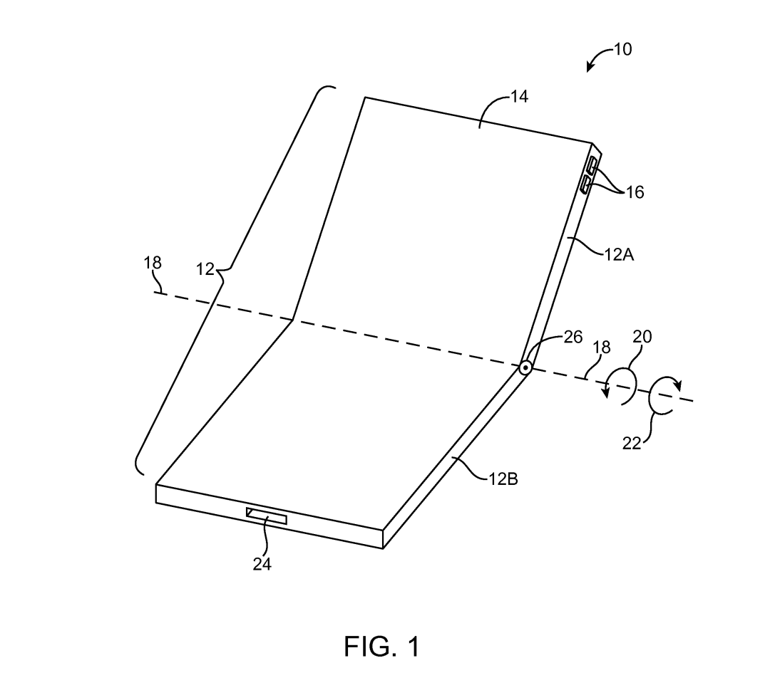
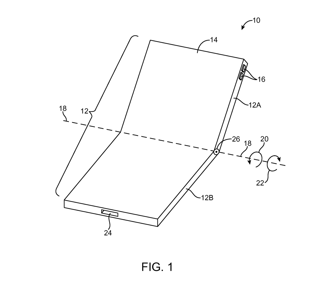
在线快速搜索显示,苹果公司已获得至少两项翻盖手机美国专利。专利号US10955880B2描述了用于可折叠手机的铰链机构,而专利号US11550369B2描述了用于翻盖手机的多层结构。
此外,苹果还获得了至少五项与可能的 iPhone Fold 相关的美国专利。其中,专利号US10694624B2描述了一种具有外露显示区域的可折叠智能手机。另外,还有一张图片展示了一款带有自我修复折痕的可折叠手机。

2022 年,著名的苹果分析师郭明錤表示,可折叠 iPhone至少要到 2025 年才会推出。另一位有影响力的苹果分析师、彭博社的马克·古尔曼 (Mark Gurman) 表示,“iPhone Fold”最终会面世,但“可能需要相当长的一段时间”。”。
包括郭在内的分析师一再推迟可折叠 iPhone 的可能发布日期。这位分析师曾认为它们会在 2020 年到来,后来又建议它们会在 2024 年到来。许多其他人也玩过同样的游戏。
因此,每个人心中的大问题是苹果是否会推出其版本的可折叠智能手机。有一些事情可能会影响其决定。首先,苹果喜欢等到一项技术经过尝试并成为现实后再将其融入到自己的产品中。它希望确保客户获得最佳的用户体验。
此外,苹果注重实用性,让用户的使用变得简单。只有当它真正带来改变并改善整体体验时,它才会添加新的东西。因此,如果它认为 iPhone Fold 是最佳选择,它可能会竖起大拇指。苹果一直以其前瞻性思维和人性化的产品设计而闻名。如果它确实朝这个方向发展,那么看看它如何将折叠技术融入未来的 iPhone 中将会很有趣。
最后,苹果喜欢了解市场的最新动态。如果可折叠智能手机成为常态,那么苹果决定跟上竞争并提供可折叠 iPhone 也就不足为奇了。毕竟,苹果一直是科技行业的游戏规则改变者,并且不会回避新趋势。

iPhone Fold 最显着的卖点无疑是其独特的设计,使其与之前的所有 iPhone 机型区分开来。然而,注意力很快就会从设计转移到 iOS 如何在这款新设备上运行。
为了充分利用更大的显示屏,苹果最好在手机完全打开时提供未来版本的 iPadOS。展开后,这款手机看起来应该与其他 iPhone 没什么两样。毕竟,iOS 是 iPhone 如此受欢迎的重要原因之一。
此外,苹果需要开发一项独特的功能,使 iPhone Fold 与市场上其他可折叠手机区分开来。与该公司即将推出的 Vision Pro 的无缝集成可能就是这个功能。
其实,苹果需要提供的不仅仅是折叠功能才值得购买。苹果需要提供折叠功能之外的一系列功能和优势,例如改进的相机技术、更长的电池寿命和增强的用户体验。通过这些性能的提升,苹果可以为客户提供考虑购买 iPhone Fold 的众多理由,使其在市场上其他可折叠手机中脱颖而出。
编译自:STUFF
厦门柔性电子研究院
福建省协同创新院柔性电子产业技术分院
地址:厦门市集美区集美大道1995号科技成果转化加速器1期4F
邮编:361024 电话:0592-5366222 邮箱:admin@flex-elec.com
部分图片来源于网络,如有侵权请联系删除