厦门柔性电子研究院
福建省协同创新院柔性电子产业技术分院
——协同  创新  共享  发展
导航栏
微软AR/VR专利提出任意给定方向红外MicroLED照明透镜结构

用于XR头显的眼动追踪技术正在迅速发展。追踪眼动和确定用户注视方向的一种技术包括分析指向用户眼睛和从用户眼睛反射的红外光信号。例如,头戴式显示器可以配备一个或多个红外光源,从不同的方向向用户的眼睛发射红外光。从用户眼睛反射出来的红外光(闪烁)可以由传感器检测到,并用于确定用户眼睛的XYZ位置和注视方向。

为了提高红外眼动追踪系统的准确性和处理能力,通常需要在用户的眼睛周围放置几个不同的红外光源,以在角膜产生不同的闪烁。

遗憾的是,传统的XR系统在红外光源可以定位方面存在一定的限制。特别是,传统系统历来将红外光源定位在头显的外围边缘或其他安装了实际显示透镜和屏幕的结构中。这种红外光源的外围位置并不总是最佳,并且需要使用更多的光源和/或更大、更强大的光源。如果光源可以相对于用户眼睛的虹膜放置得更近或更优,则不需要使用其他光源。

有XR系统尝试将红外光源放置在远离显示屏边缘的位置,并放在用户视场之内以靠近眼睛。但这种类型的现有系统存在问题,因为它们会对混合现实环境的用户视角造成视觉障碍。特别是,现有的红外光源通常尺寸在1.0毫米至4.0毫米直径/宽度范围内。这样的尺寸非常明显,特别是当定位在用户视场中时。至少出于这个原因,大多数传统系统只将红外光源定位在透镜/显示器外围边缘的次优位置。

鉴于这个问题,微软名为“Microled based invisible illumination for eye tracking”的专利申请中提出了一种解决方案。特别是,微软表示所述发明允许红外光源以相对于用户眼睛/虹膜和相应摄像头传感器的最佳方向直接定位在头显透镜的查看区域之内,同时不会妨碍用户对混合现实环境的感知。

这家公司指出,方法是利用具有在任何给定方向小于100 μm的红外μLED的照明透镜结构,因为即便嵌入到头显的透镜中,用户都无法感知到这种uLED,所以在使用过程中不会阻碍或干扰头显对混合现实环境的呈现。

图片

现在将注意力转向图1,头显配置为根据由摄像头130或其他传感器捕获的光反射(闪烁)执行眼动追踪。例如在使用过程中,光围绕着用户眼睛的光源发出(。光线发出后,闪光从用户的眼睛(特别是用户的虹膜)反射,并由摄像头检测到。

根据感知到的光的强度/强度,相对于光发出的光源/时间,头显光处理模块可以检测用户眼睛/虹膜的定位(相对位置和方向)。

系统摄像头/传感器捕获的图像的额外处理可用来区分用户的瞳孔和虹膜。这种图像可以帮助系统绘制用户眼睛的位置和用户眼睛相对于投影全息图或其他对象的方向/注视。系统同时可以利用户眼睛的位置来支持混合现实环境,在所需位置定位和重新投影全息图。

图片

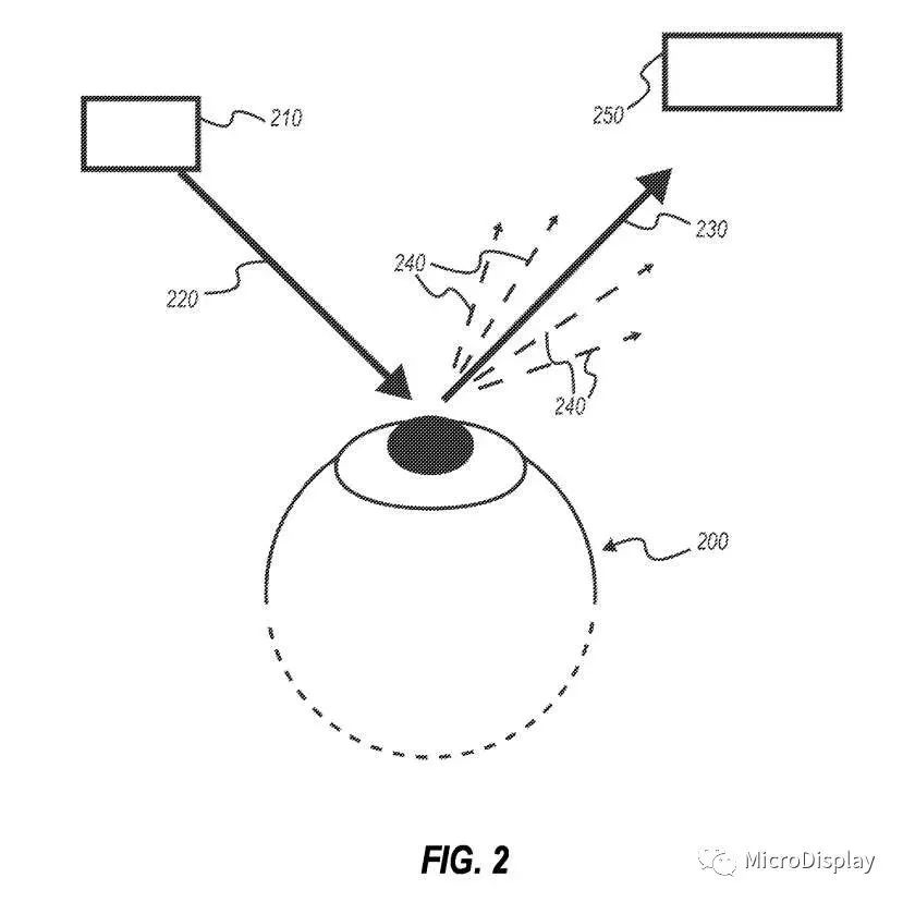
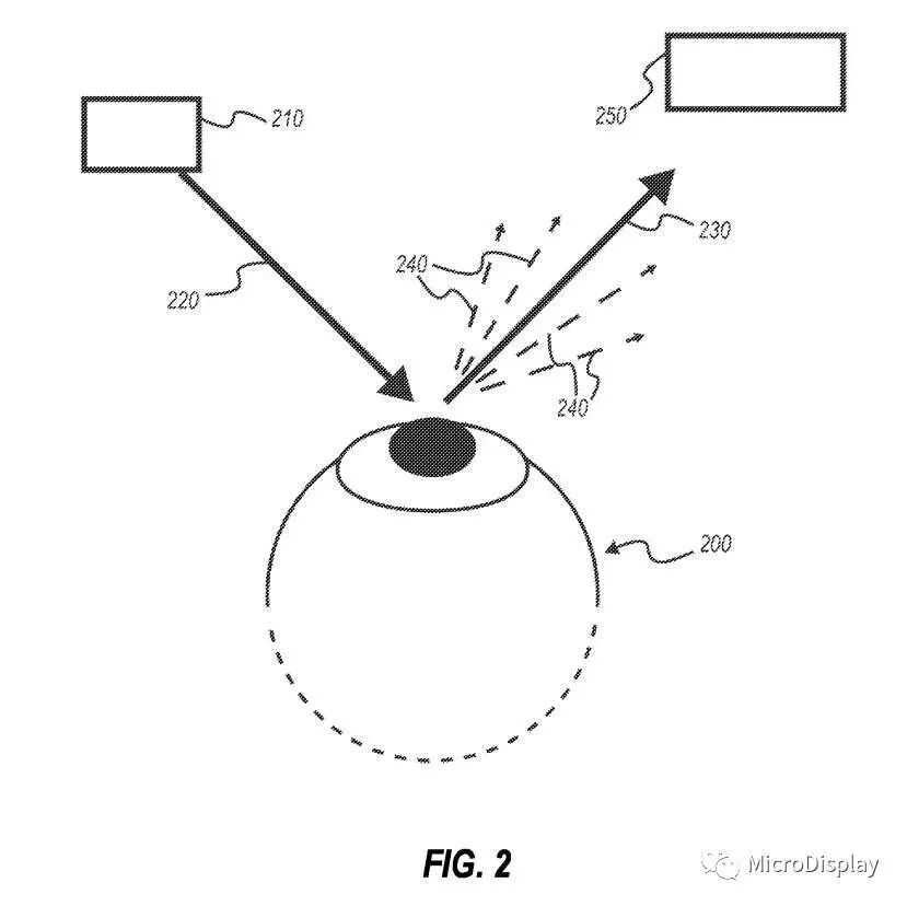
图2示出用户眼睛200的表示,其中红外光源210向用户眼睛200发射红外光220。红外光反射回来作为镜面反射和散射反射。图2同时显示了如何放置摄像头250或其他传感器以检测一个或多个反射。

通过光源的位置、光源发出光的时间、摄像头的位置以及从用户眼睛反射的检测光反射的测量强度和时间,系统可以确定用户眼睛/虹膜的相对定位。这是因为光线在用户眼睛的不同部位反射的不同,例如它在角膜的瞳孔和虹膜区域的反射不同于巩膜。这种差异的检测和测量是基于反射是镜面反射或散射反射。

为了光源能够优化定位,例如靠近用户的角膜,需要将光源定位在合适的位置。但遗憾的是,传统的红外光源太大(例如1-4毫米),无法在用户的视场范围内定位而不会对用户通过透镜查看环境造成阻碍。

为了帮助解决这些问题,微软提出可以采用配置有红外μLED的照明透镜。通过这种配置,可以将光源最佳地放置在靠近用户眼睛的位置,而不必考虑头显安装结构的物理形状因素所施加的现有限制。

图片

图3示出具有以网格方式排列的16个红外μLED的红外μLED透镜结构300。红外μLED放置在透明衬底310之上,沿着导电迹线320在阳极端和阴极端之间形成电路。例如,当电路由头显的电源供电时,电源可以电连接到阳极和阴极端子并由照明控制单元控制,红外μLED将激活并发出红外光。

红外μLED的发光波长在790 μm ~ 1mm之间。在优选实施例中,红外μLED发射波长约为800-900 μm的光,甚至更优选地发射波长约为850 μm的光。

图片

图4A-4D显示了不同照明透镜结构的不哦她那个红外μLED数量不同。具体地说,在图4A,红外uLED的分布模式有点圆形/椭圆形,但在图4C中有点矩形,在图4D中有点菱形。另一方面,图4B所示的实施例包括两种不同的图案,圆形/椭圆形的外部图案和三角形的内部图案。

另外,照明透镜结构400A由6个红外uLED组成,而照明透镜结构400C和400D各由8个红外uLED组成。照明透镜结构400B包含19个红外uLED。

红外uLED的不同数量和模式可以改变,以适应不同的需求和偏好。

图片

在图5中,头显500配置有透明照明透镜结构510,透镜结构510具有多个红外μLEDs 540。如图所示,红外μLEDs 540呈圆形分布,每个眼睛和晶状体区域各8个。不同的红外μLEDs 540可以选择接在单个电路或两个或更多不同的电路。形成电路的电迹线没有显示出来。

在使用期间,从红外uLED发出的光将至少部分地指向用户的眼睛,并且光将反射回来并由设备摄像头530检测到。

图片

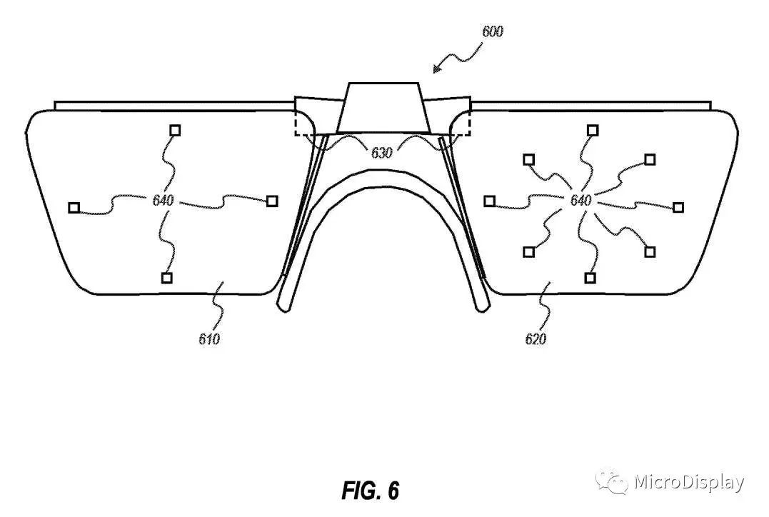
图6示出一副眼镜600的实施例,眼镜600具有包括四个红外uLED的第一透明照明透镜结构610和包括八个红外uLED的第二透明照明透镜结构620。

这个例子用来说明头显的两侧不一定要有匹配/对称的红外uLED分布。无论红外uLED的数量和分布如何,应当理解的是,在使用期间,从红外uLED发出的光将至少部分地指向用户的眼睛,并且光可以反射回来并由设备摄像头630检测到。

图片

在相关实施例中,图7所示的头显系统700包括具有遮阳板的透明照明透镜结构710。在这个例子中,遮阳板的一侧有数个形成圆形图案的红外uLED。遮阳板的另一侧有四个红外uLED,呈方形分布。

关于前面所有的例子,红外uLED没有显示成比例。事实上,红外uLED非常小(<100 μm),就像迹线的厚度一样,如果按比例表示,它们在当前的插图中看不出来。

同样是因为红外LED非常小,所以它们可以用来用红外光照亮用户的眼睛,并且同时定位在用户通过的透镜而不会阻碍用户通过透镜的视场。

导电迹线非常薄,宽度小于50 μm,甚至小于25 μm,所以在接近用户眼睛使用时,它们在视觉上并不明显,基本不可见。这种配置特别有利于使迹线能够定位在照明透镜结构内部。即便直接定位在用户眼睛的前面,它使用过程中都不会妨碍用户通过透镜感知到的环境视图。

图片

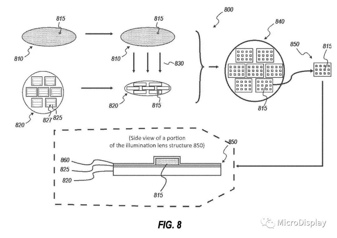
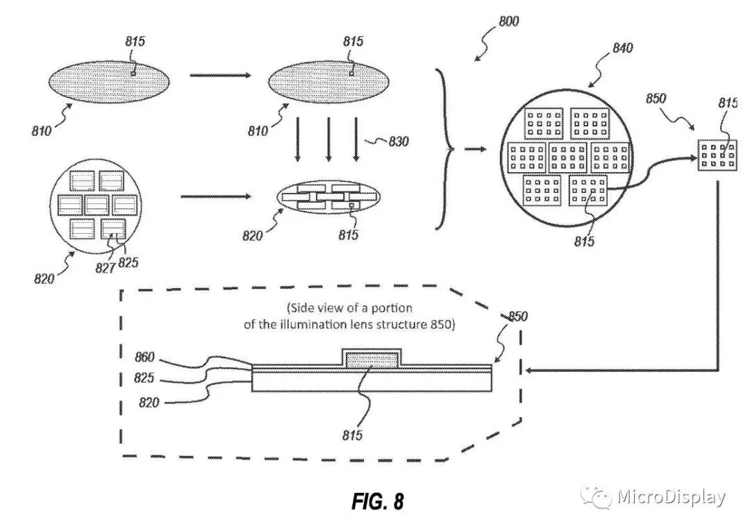
图8可视化了用于制造发明所述照明透镜结构的制造流程。

如图所示,制造过程包括获得包含一个或多个红外μLED的晶圆810。例如,晶圆810可以是通过外延生长或沉积工艺形成的外延晶圆。

图8所示的工艺800同时包括获得用于将红外uLED转移到其上的衬底820。如图所示,执行转移过程830以将一个或多个红外uLED转移到已经位于衬底820上并且在衬底上形成一个或多个不同电路827的导电迹线825。

从衬底上移除并放置在衬底上的红外μLED的尺寸在任何方向都限制在<100 μm,所以红外μLED的任何可测量长度的最大尺寸都小于100 μm。

红外uLED的最大尺寸尺寸可以小于75 μm,小于50 μm,甚至小于20 μm。在一个实施例中,红外uLED的最大尺寸尺寸约为10 μm。

迹线的宽度同样受到限制,厚度不能大于<50 μm、<40 μm、<30 μm,甚至小于20 μm。在一个实施例中,迹线宽度约为20 μm。

图片

图9示出了与配置用于执行眼动追踪的流程图900,其中头显包括包含多个红外μLED的照明透镜,并且多个红外μLED中的每个红外μLED具有<100 μm的最大尺寸。

系统组件控制红外uLED的照明,从照明透镜中的一个或多个红外uLED向用户的眼睛发射红外光。

接下来,头显进一步配置为检测和处理在使用头显期间从用户眼睛反射回来的红外光的闪烁,并根据检测和处理的闪烁确定用户眼睛的定位。

现在将注意力转向图10,图10说明了与使用多个红外uLED制造照明透镜结构的流程图1000。

图片

这包括用于获得透明衬底,将多个迹线应用于透明背板。其中多个迹线导电,并在阳极端子和阴极端子之间形成至少一个电路。

然后,获得红外μLED晶圆,其包含多个红外μLED或可单独提取为最大尺寸<100 μm的离散红外μLED的材料。接下来,将一组一个或多个红外uLED以预定的模式转移到衬底,并且使得红外uLED电耦合到底板/衬底上的至少一个电路。

名为“MicroLED based invisible illumination for eye tracking”的微软专利申请最初在2023年1月提交,并在日前由美国专利商标局公布。

需要注意的是,一般来说,美国专利申请接收审查后,自申请日或优先权日起18个月自动公布或根据申请人要求在申请日起18个月内进行公开。注意,专利申请公开不代表专利获批。在专利申请后,美国专利商标局需要进行实际审查,时间可能在1年至3年不等。



来源:映维网