厦门柔性电子研究院
福建省协同创新院柔性电子产业技术分院
——协同  创新  共享  发展
Google Pixel Fold——到目前为止我们所知道的一切


图片来源:Front Page Tech


大家关注谷歌 Pixel Fold 已经有一段时间了,尽管最近关于这款可折叠手机的传闻一直不多。尽管如此,许多业内人士坚持认为,我们将在来年看到 Pixel Fold。如果这是真的,我们应该期待什么?

鉴于谷歌致力于让 Android 对三星 Galaxy Z Fold 4等可折叠手机交互更加友好,有人认为这家搜索巨头不需要制造自己的折叠手机。但从谷歌的角度来看,可折叠手机的理想化版本仍然是一个诱人的前景。

考虑到这一点,以下是迄今为止我们所听到的有关 Google Pixel Fold 和这家搜索巨头的可折叠计划的消息。



传闻谷歌 Pixel Fold 发布日期


Google Pixel Fold 的发布日期长期以来一直受到猜测,现在是Front Page Tech曾表示可能该机型会在 2023 年 5 月与 Pixel 平板电脑一起推出。值得一提的是,谷歌通常会在每年 5 月举行开发者大会,并在 同年的活动中展示Pixel手机。

然而,显示器分析师Ross Young 认为 Pixel Fold 可能会在 2023 年第一季度上市,至少按照他对面板出货量和产量的预测。这对我们来说似乎是一个相当不错的预测,尽管我们还没有对它投入大量资金。希望我们能在明年夏天到来之前看到 Pixel Fold。



Google Pixel Fold 价格

一些传言表明 Pixel Fold 的价格可能低于 Galaxy Z Fold 系列,而其他人则表示它可能与三星的顶级可折叠产品定价相近。

Front Page Tech 表示,Pixel Fold 的售价可能高达 1799 美元,比 Pixel 7 系列贵很多,与三星 Galaxy Z Fold 4 一样贵。

9to5早些时候有报道称,Pixel Fold 的成本可能低于 Galaxy Z Fold 系列,更具体地说,大约是 1,400 美元,这将是一个受欢迎的举措。

目前,三星 Galaxy Z Fold 4 是你能买到的最贵的折叠屏手机,售价 1,799 美元。像新的Galaxy Z Flip 4或摩托罗拉Razr 2022这样的翻盖手机更实惠一些,分别为 999 美元和 833 美元——在这种情况下,负担得起是相对而言的。

谷歌对其最新款 Pixel 手机采取的策略是削弱竞争优势,Pixel 7和Pixel 7 Pro的价格都极具竞争力。事实上,我们认为这是Google Pixels 击败当前 iPhone 和 Galaxy 手机的方式之一。



Pixel Fold or Pixel Notepad?


根据9to5Google的一份报告,Google Pixel Fold 可能被称为 Pixel Notepad。如果这被证明是真的,我们希望谷歌提供手写笔支持,但这还有待观察。一份报告称,谷歌已经考虑过其他名称,如 Logbook,但希望它不会出现。

现在,我们将该设备称为 Pixel Fold,因为这是大多数传言中使用的机型名称。


图片来源:Front Page Tech


Pixel Fold 设计


谷歌 Pixel Fold的首次曝光揭示了一个惊人的设计。从泄露的图片来看,Pixel Fold 可能有一个较大尺寸的外部显示屏,类似于 Oppo Find N。它似乎还有一个令人印象深刻的可折叠设计,具有许多 Pixel 特征。

正面外屏幕显然在打孔切口中装有一个显示屏不足的 9.5MP 前置摄像头。屏幕周围的边框看起来很小,从正面看就像一部普通的 Pixel 手机。背面看起来与Pixel 7 Pro惊人地相似, 具有玻璃饰面和三摄像头系统外壳。

打开 Pixel Fold 后,有一个横向展开的类似平板电脑的大屏幕。顶部和底部的边框很明显,顶部边框下方还有另一个 9.5MP 摄像头。

曝光图还揭示了一个 USB-C 充电端口。


我们对 Pixel Fold 外观的其他想法来自 Android 12L 中的动画。这个以平板电脑为重心的 Android 版本使用可折叠手机的抽象插图,该手机可能基于 Pixel Fold。如果是这样,那么我们将得到一个类似书本的折叠式设备,除了大尺寸的内屏以外,还有一个完整的外屏。该设备的形状看起来不像三星 Galaxy Z Fold 3那样高瘦,而是更像方形的Oppo Find N。

开发者 Kuba Wojciechowski 泄露了 Google Pixel Fold 的关键显示细节,他们建议采用与三星 Galaxy Z Fold 4 类似的规格:打开后的折叠屏尺寸为 123 x 148 毫米,相当于 7.57 英寸显示屏。该报告还提到内屏的分辨率为 2208 x 1840。这非常接近三星 Galaxy Z Fold 4 的7.6英寸屏幕规格。

据报道,内部显示屏也将具有 120Hz 的刷新率,尽管泄密者对此并不确定。在亮度方面,我们可以看到显示器获得 1200 尼特的峰值亮度,平均亮度为 800 尼特。

9to5的报告提到 Pixel Fold 的外部显示屏可能具有 2100 x 1080 的分辨率。我们不知道屏幕的尺寸,但从泄露的分辨率来看——它暗示与三星 Fold 4 上的 6.2 英寸显示屏相比,外屏略宽但短一些。

泄密者 Ross Young 此后权衡了 Pixel Fold 的显示屏尺寸,称内屏为 7.6 英寸,外屏为 5.8 英寸。外面板比预期的要小一些,但内部显示屏的尺寸与 Galaxy Z Fold 4 相同。

现在有传言称Pixel Fold 可能有一种新颖的解决方案来避免缺口。有传言称它可能会在手机的边框上安装摄像头,或者在手机打开时完全取消摄像头。这个传言似乎不是空穴来风——谷歌的最新专利显示了一个内置摄像头,而不是凹口或针孔。这意味着 Pixel Fold 可以选择以尽可能少的边框为代价放弃屏下摄像头。

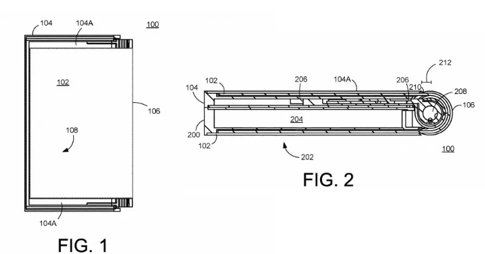
关于谷歌 Pixel Fold 设计计划的任何其他细节主要来自该公司为可折叠设备提交的多项专利申请。其中一项专利展示了一种在铰链上打开以显示更大屏幕的设备,能够滑出额外的显示器以增加屏幕空间。另一项专利有趣地戏弄了一种可以在三个地方折叠的可折叠设备。

图片来源:美国专利商标局


我们不知道这些设计是否接近现实——这是依赖专利的缺点,专利可能涵盖从未面世的产品。然而,从这些文件中的设计来看,谷歌在作品中的任何设计似乎都与 Galaxy Z Fold 3 以及智能手机大小的设备展开以显示更大显示屏的方式有更多共同点。

一份报告更进一步指出,谷歌已与三星达成协议以获得可折叠 OLED 面板。最初的报道称,谷歌已经订购了 7.6 英寸的面板,这恰好是Galaxy Z Fold 3 和 Fold 4的内屏尺寸。

DSCC 的 Ross Young 支持Pixel Fold 和 Galaxy Z Fold 4 共享 7.6 英寸屏幕尺寸的想法,但他预测谷歌的外屏尺寸不同。Young 说 Pixel Fold 将有一个 5.8 英寸的外壳显示屏——更像 Oppo Find N 的屏幕,而不是三星 Galaxy Z Fold 手机外部的 6.2 英寸面板。

The Elec 的另一份报告(在新标签页中打开)支持 Google Pixel Fold 将配备 7.6 英寸显示屏的说法。

此外,据报道,三星将向谷歌提供其UTG,这是三星自己的可折叠设备的关键组成部分。据推测,该显示器还将使用 LTPO 技术,这意味着它的刷新率可以自适应1~120Hz。


图片来源:Let's Go Digital

设计师 Waqar Khan 为 Pixel Fold 提出了几种不同的概念设计,最新的 Pixel Fold 设计借鉴了 Galaxy Z Fold 3 和 Pixel 6 的灵感。Khan 的概念设计采用外部显示器,打开后可以显示更大的屏幕,就像折叠一样。与此同时,手机背面的摄像头阵列水平延伸——谷歌最终将这种设计用于 Pixel 6。



Pixel Fold 规格和相机

图片来源:Front Page Tech


鉴于过去的 Pixel 系列一直是最好的照相手机中的中流砥柱,我们预计任何最终出货的 Pixel Fold 都会延续这样的设计,把重点放在相机上。

根据 Pixel Fold 的设计,谷歌可以添加更多摄像头,但该公司似乎更倾向于一种少而精的设计。根据Front Page Tech泄露的信息,Pixel Fold的外屏和内屏上的前置摄像头将具有相同的 9.5MP 摄像头。至于背面的摄像头——它们的排列方式与 Pixel 7 Pro 类似,很可能是 7 Pro 上的摄像头——50MP 主镜头、12MP 超广角摄像头和 48MP 长焦摄像头。

另一个传言表明,根据 Google Camera 应用程序中的数据,Pixel Fold 上只有一个 12MP 后置摄像头,而两个前置 8MP摄像头。考虑到 Galaxy Z Fold 3 都有三个后置摄像头,单个 12MP 传感器令人失望。尽管凭借其强大的软件功能,谷歌仍可确保 Pixel Fold 能够拍摄出所有可折叠手机中最好的照片。

开发者Kuba Wojciechowski最近发布的一条推文提到了我们可能会在 Pixel Fold 上看到的相机硬件。这包括一个 50MP 主摄像头以及两个 12MP 传感器和一个 8MP 传感器。

微博博主“数码闲聊站”发布信息称 Pixel Fold 的内屏上不会有刘海——这里可以有两种解释:手机打开时不会有摄像头,或者这可能意味着手机的边框上会有一个微型摄像头。这里没有提到有问题的相机的任何规格。


图片来源:Google


至于为 Pixel Fold 提供动力的处理器,谷歌使用自己内部设计的 Tensor 芯片是合乎逻辑的。

该芯片组用于最新的 Pixel 手机,可能无法击败高通骁龙8 Gen 1或即将推出的Gen 2之类的芯片组,但它仍然非常强大。它可以在当前的 Pixels 中启用许多简洁的功能,因此将它放在 Pixel Fold 中,并有可能使手机能够根据用户的需求进行调整,这是有可能的。
得到了最近第三方测试平台的数据的支持,这些基准测试表明 Pixel Fold 运行的芯片组具有八个内核,时钟速度范围为 1.8GHz 至 2.8GHz;这恰好与 Tensor 芯片相同。这片硅片还可以搭配 12GB 内存和 Mali-G78 GPU。


 Pixel Fold 软件


Android 12为运行谷歌操作系统的折叠手机引入了更好的软件支持,因此这几乎肯定是 Pixel Fold 的核心;我们怀疑谷歌是否会为Pixel Fold制作定制的折叠式手机操作系统。毕竟,谷歌之前与三星密切合作,为可折叠屏幕优化UI交互以及应用体验。

软件支持 Galaxy Z Flip 上的 Flex 模式


能够在 Android 中构建更多针对可折叠手机的功能,然后在谷歌制造的手机上优化它们,这可能解释了谷歌对开发 Pixel Fold 的兴趣。



这就是Android 12L的用武之地。作为 Android 12 的扩展,此更新为谷歌的软件带来了针对可折叠手机的多项优化。具体来说,运行 Android 12L 的设备提供的界面可以更好地利用可用的大屏幕空间,同时还支持其他多任务处理选项,例如多窗口和任务栏。这些更改已纳入 2022 年的Android 13更新中。



Pixel Fold 的外观


虽然谷歌 Pixel Fold 的实际状态仍有待商榷,但我们认为谷歌制造折叠手机的时机成熟了。Android 的发展表明,谷歌可以打造一个流畅的移动操作系统,尤其是当 Pixel Launcher 被添加到上面时。我们很期待将这种更新应用在可折叠手机上,因为软件仍然是阻碍它们发展的桎梏。

如果谷歌能够解决这个问题,它就可以创造出一款可折叠手机,为其他厂商树立榜样,也许在硬件和软件方面都是如此。时间会证明一切,我们仍对所谓的 Google Pixel Fold 可能具有的潜力持乐观态度。