2 月 17 日消息,根据美国商标和专利局(USPTO)公示的最新清单,苹果再次获得了一项可折叠手机相关的专利。该专利改进了此前的铰链设计,并为可折叠 iPhone 设计了更复杂的铰链。

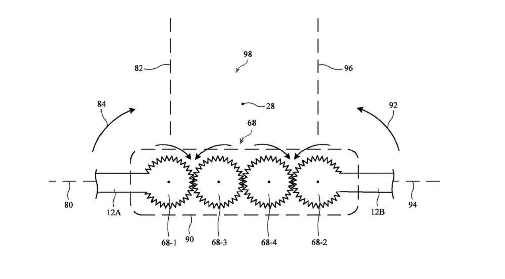
苹果此前的可折叠 iPhone 专利中,铰链设计通常为 3-4 个小齿轮绕着一个较大的齿轮旋转。不过在这项名为“Hinges for Folding Display Devices”(为可折叠屏幕设计的多种铰链)中,提及了一种包含 4 对小齿轮和 6 个静态部件组成的复杂铰链设计。

相比较此前的大型铰链结构,这种由多个小齿轮组成的铰链系统更加复杂,且对工艺的要求也更高,不过这种铰链可以改善使用体验。感兴趣的IT之家网友可以访问这里,了解更详细的信息。

来源:IT之家