厦门柔性电子研究院
福建省协同创新院柔性电子产业技术分院
——协同  创新  共享  发展
像画卷一样展开,苹果新柔性屏 iPhone 专利曝光

近日,根据美国商标和专利局(USPTO)公示的清单,苹果公司获得了一项名为“带有柔性显示结构的电子设备”专利,可以像画卷一样徐徐展开。

图片


图片


苹果部分专利描述如下:

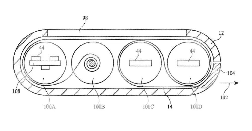
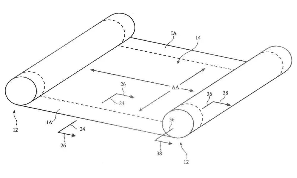
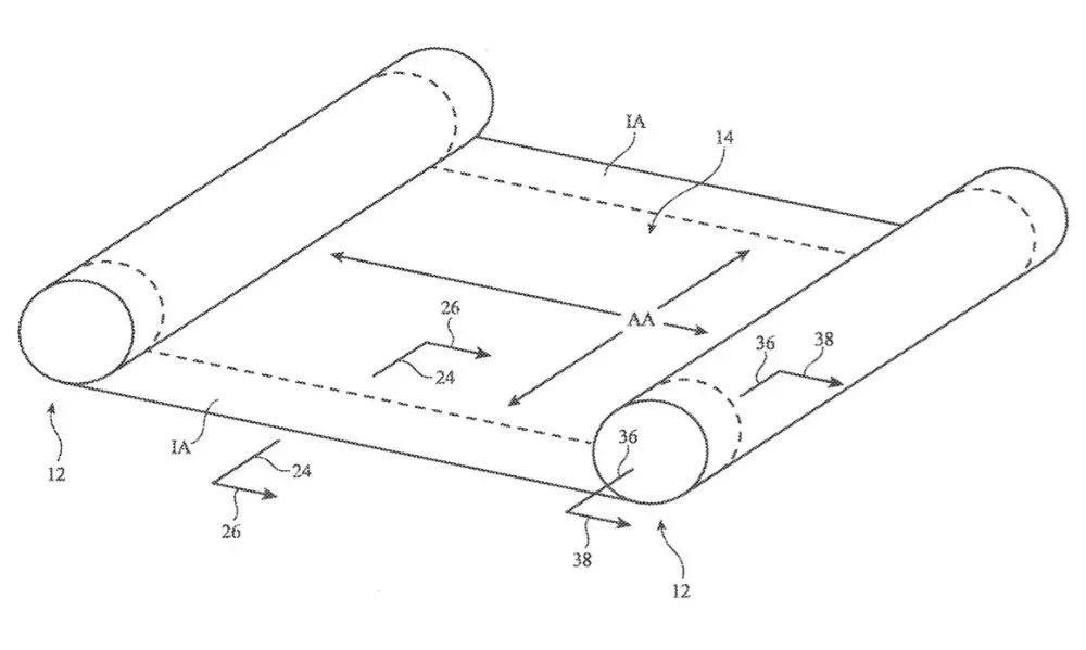
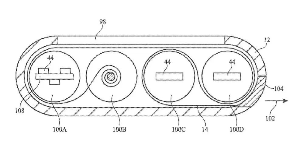
主流屏幕通常采用玻璃基板等刚性结构,从而在制作紧凑型电子设备上变得极具挑战。通过柔性屏幕,可以缠绕在一个或者多个滚轮上。

在存储屏幕的位置,柔性屏幕可以绕着滚轴收纳。当屏幕从外壳中拉出后,使用辅助设置展开滚轮,以展开屏幕。

苹果此前获得了“滑动可扩展显示屏”的类似专利,在完全展开状态下可以和当前 iPhone 一样,在不使用情况下,可以缩短一半的屏幕,卷到设备内部。


来源:IT之家